Цветная раскладка
Соединение цветной раскладки крестом с зарезкой под углом 45 градусов
Оборудование:
1. Пила для резки раскладки, с поворотной станиной
2. Линейка с упором.
|
|
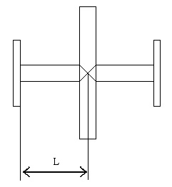
| Из хлыста раскладки вырезают заготовку длиной L1, равной L+40 мм для раскладки шириной 18 мм и L+50 мм для раскладки шириной 25 мм. |
| Один из торцов раскладки вплотную придвигается к упору на линейке, а другой режется под углом 45 градусов. |
| Заготовка переворачивается на 180 градусов и производится еще один пропил под углом 45 градусов. |
| На полученной заготовке отмеряется размер L (заданный размер элемента рисунка раскладки), и со стороны прямого распила заготовка подрезается до заданного размера L. |

НАШИ НОВОСТИ
C 8 МАРТА!!!
06.03.2026
О КомплектСервис
Компания КОМПЛЕКТСЕРВИС (КC) более 30 лет является одним из признанных лидеров российского рынка комплектующих для производства окон, дверных конструкций и стеклопакетов. В 1995 году наша компания вышла на новый для России рынок комплектующих для светопрозрачных конструкций, первой организовав оптовый склад профиля ПВХ.
КОНТАКТЫ
- КОНТАКТНЫЙ ТЕЛЕФОН:
+7(495) 109-91-11,
+7 (968) 513-08-60 (отдел продаж) - E-MAIL:
- E-MAIL (для заявок):











